キヤノンが簡易的に光軸をシフトすることができるマウントアダプタの特許を出願しています。
-
出願人:キヤノン株式会社
公開番号:P2022052536
出願番号:P 2020158975
公開日:2022-04-04
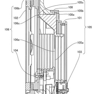
発明の名称: マウントアダプタ、及びカメラシステム - 【課題】撮像面に対して簡易的に交換レンズをシフトさせて撮影することのできるマウントアダプタを提供する。
- 特許文献1に開示された従来技術は、カメラ本体と交換レンズとのメカ的な干渉防止のための構成であり、TSレンズのように撮像面に対して光軸を所定の可変量だけシフトさせて撮影することができない。また、TSレンズの構成をマウントアダプタに搭載すると、部品数が増え複雑化し、コストアップにつながってしまう。そこで、本発明の目的は、例えば、撮像面に対して簡易的に交換レンズをシフトさせて撮影することのできるマウントアダプタを提供することである。


キヤノンがレンズのシフトを可能にするマウントアダプタの特許を出願しています。TSレンズのような複雑な構造ではなく、かなりシンプルな構造でシフトを実現しているようなので、もし製品化されることがあれば比較的安価な価格を期待できるかもしれませんね。ただ、イメージサークルに余裕のあるレンズでないと大きくはシフトできないので、フルサイズのレンズをAPS-Cセンサーで使うのが現実的でしょうか。
覗かずのイチ
TS-Eの17/4、24/3.5と並ぶ建築撮影三種の神器EF11-24/4がシフト化できれば、業界人感涙モノですね
シフトレンズ好き
興味深いアダプターですが、図面を見ると上部だけ斜めにカットされているので、ライズしかできない一方通行のようですね。
フォールしたい場合はリボルビングして対処させるのでしょうか?
しかし本体とレンズをつなぐフレキ配線もあるようなのでそれはあやしいですね。
先日LAOWAの20mmシフトと同時に発表されたレンズ側を固定してカメラ側をシフトさせるような機構でないとノーパララックススティッチング撮影ができないので、キヤノンにしろニコンにしろ、シフトレンズとは何か?を現場の意見を聞いて作ってもらいたいものです。
swing
カムを使って、アダプタの前後を回転させるとぐいっと上にスライドするような感じのようですね。
簡易で面白そうですが、あまり大きなシフト量にはならなそうだし、縦位置できなそう。もしAPS-Cにクロップするのなら高画素機からトリミング、あるいはデジタルシフトがあれば間に合いそうにも思えますね。商品化されるかは微妙な感じ…。